Paletti luminosi

KOMPASS Paletto

Effetto della luce

Il paletto luminoso dal design geometrico per l’illuminazione esterna sia privata che pubblica 

Questo bollard è caratterizzato da un’ottica monodirezionale che produce un fascio luminoso preciso e direzionato, che enfatizza appieno l’area o il soggetto colpito senza produrre abbagliamento 

  • Design ultramoderno, dalle forme geometriche, particolarmente adatto a contesti residenziali e urbani dal design moderno e industriale
  • Elevato grado di resistenza
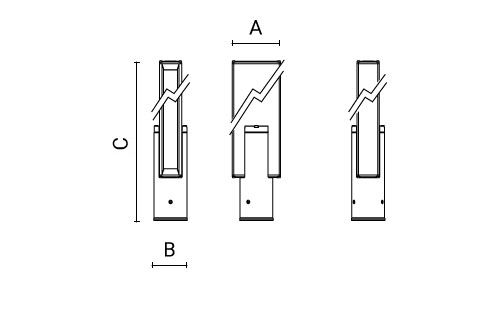
  • Versatilità: disponibile in diverse temperature di colore, potenze e in tre altezze differenti
  • Versioni: la gamma KOMPASS comprende anche la versione a parete
  • Applicazioni: illuminazione pubblica di aree pedonali, parcheggi e parchi; perfetto per l’illuminazione da giardino, ad esempio per creare un percorso luminoso lungo un vialetto d'ingresso.
KOMPASS Paletto comfort+
comfort+

Versioni


CCT


Colore


Controllo


Codice Ottica Watt Lumen CCT CRI Controllo A B C
0882002A-840-16 monodirezionale 5W 50lm 4000K 80 ON/OFF 150mm 102mm 491mm
0882000A-840-16 monodirezionale 8W 100lm 4000K 80 ON/OFF 150mm 102mm 784mm
0882001A-840-16 monodirezionale 12W 150lm 4000K 80 ON/OFF 150mm 102mm 1077mm

Altre versioni